Online od 2006 roku – Sprawdzona jakość
Ponad 100.000 produktów – Szeroki asortyment
Dostawa z własnego magazynu – Szybka wysyłka
Bez kosztów wysyłki od 400 zł

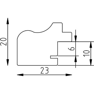
Rama drewniana Effect Profil 67, ciemnobrązowa, 25x70 cm, szkło muzealne

Rama drewniana ciemnobrązowa, 25x70 cm, z szkłem muzealnym i ochroną UV 70%, profil 2,3 cm, styl willi, montaż pionowy i poziomy, eleganckie akcentowanie zdjęć
Kolor 
Rodzaj szkła 
Rozmiar 

549,79 zł
włącznie 23% VAT , plus wysyłka